IOT WITH EDGE INTELLIGENCE FOR HEALTHCARE APPLICATION
Background
Demonstrate an AI platform that optimises edge computing for healthcare IoT products in a hospital setting, so that processing need not be done in the cloud; processing can be done at the edge nodes, or at the gateways. This will reduce unnecessary data traffic and processing latency, and is important for applications such as critical patient monitoring and analysis. Focus should be placed on designing and developing gateways, with associated sensor nodes for various patient monitoring applications.
Requirements
We have curated information and resources which might be useful for you to prepare your proposal. Use of the resources provided does not offer you any advantage in the challenge and you are free to use any other technologies that you deemed more suitable or better than what's provided here.
![]() |
Flexible Thin-Film Fast Charge Battery
The power source is a critical component of personal wearables and devices. The shape and form are often constrained and influenced largely by the shape of the battery in the electronic device. |
![]() |
UWB Radar
Impulse UWB technology is traditionally used as long range UWB radar, primarily for military applications. This technology offering is short range and high resolution radar using frequency range and emission power which is certified for commercial use. |
![]() |
Remote Cardiac Arrhythmia Monitoring Device with ECG
Systemic and algorithmic solutions for remote monitoring of cardiac arrhythmias in the field of ECG analysis and cardiac telerehabilitation system. |
![]() |
Soft Microtubular Sensors for Biomedical Applications
We developed a flexible, stretchable, wearable, and washable piezoresistive microtubular sensor that is highly sensitive to mechanical perturbations. |
![]() |
Smart Device for Continuous Monitoring of Heart Sounds to Allow Early Detection and Intervention of Heart Abnormalities
The Smart Stethoscope (S3) combines both Stethoscope and ECG capability while compacted into a small wearable for the user. ECG essentially provides the timing information to accurately determine the heart sounds (S1, S2 and S3/S4 if any). As such, the heart sound measurements can be done at an |
![]() |
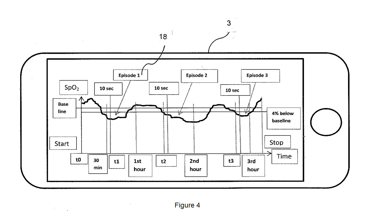
Mobile Phone App-Based Novel Oximetry System
Obstructive sleep apnea (OSA) is characterized by repetitive episodes of breathing cessation due to upper airway obstruction during sleep. OSA affects approximately 1 in 4 males and 1 in 10 females. |
![]() |
Photoacoustic Sensor for Non-invasive Glucose and Core Temperature Measurement
Currently, glucose levels and blood core temperatures are measured by the invasive devices and methods, and no established non-invasive devices can solve this issue. |
![]() |
Flexible Battery - BrightVolt
A patented and proprietary flexible battery technology that increases the reliability, stability, and unprecedented safety and abuse tolerance of the cell. BrightVolt PME™ enhances the direct bonding of electrode components, enabling thinner layers and eliminating dead weight which results in hi |
![]() |
PhysioNet
PhysioNet offers free web access to large collections of recorded physiologic signals (PhysioBank) and related open-source software (PhysioToolkit). PhysioBank databases are made available under the ODC Public Domain Dedication and License v1.0. |
![]() |
Wireless Healthcare Monitoring System: Monitoring Patients’ Health Around The Clock
This patient monitoring system is small and light-weight, making it easily wearable. Within this device, the sensor integrated circuit for both the 3-lead ECG monitor and respiration monitor are combined, which allows the device to remain small. |
![]() |
ROHM and Equate Health Partner to Develop a Breakthrough Cuffless Optical Blood Pressure Monitor
A novel solution monitors blood pressure by incorporating ROHM's high-performance BH1792GLC optical heart rate sensor featuring a current consumption of just 0.44mA (during measurement), 1024Hz sampling rate, and integrated optical filter that enable high accuracy, low power pulse detection. |
![]() |
Intelligent wearable environmental and physiological data recording smartwatch
Intersense is an advanced sensor wearable datalogger designed by Digital Health Innovation Centre (DHIC) researchers for the industry and scientific community where a reliable wearable sensor for the collection of environmental and physiological data of an individual is vital for analytics and cr |
![]() |
Optical Sensor for Heart Rate Monitor IC
BH1792GLC is optical sensor for heart rate monitor IC in which LED driver, green light and IR detection photodiode are incorporated. This device drives LED and provides the intensity of light reflected from body. LED brightness can be adjusted by LED driver current. |
![]() |
Ultra-low power, 3GPP Release-14 enabled NB-IoT SoC
MT2625 is an NB-IoT R14 enabled SoC that will enable ultra-low power and cost effective IoT devices for a wealth of applications ranging through home, civic, industrial or mobile use. It’s highly integrated design incorporates an NB-IoT modem DSP, antenna RF and base-band analogue front-end. |
![]() |
LTE BG96 Cat.M1/NB1 & EGPRS Module
BG96 is a series of LTE Cat M1/Cat NB1/EGPRS module offering a maximum data rate of 300Kbps downlink and 375Kbps uplink. |
Additional Info
To submit an application, please click on the APPLY button after logging into your user account.
Do remember to attach the application form in your submission.
IOT INNOVATION CHALLENGE 2018
Aztech
Proposal submissions are open from 1 Nov 2018 10:00AM to 18 Jan 2019 12:00AM














